 |
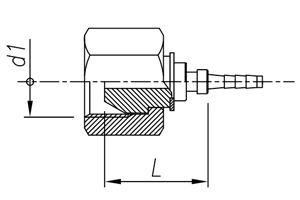
Push On British Standard Pipe Parallel (BSPP)
Popular couplings British Standard Pipe (BSP) threads, also known as Whitworth threads.
The BSPP (parallel) male will mate with a BSPP (parallel) female or a female port. The BSPP male has straight threads and a 30° seat. The BSPP female has straight threads and a 30° seat.
The female swivel BSPP has a tapered nose which seals on the cone seat of the male.
The BSPP (parallel) connector is similar to, but not interchangeable with, the NPSM connector. The thread pitch is different in most sizes, and the thread angle is 55° instead of the 60° angle found on NPSM threads.
Go to the form
|
 |
Push On National Pipe Tapered Fuel (NPTF)
This is a dryseal thread, the National Pipe Tapered Fuel (NPTF) thread, used for both male and female ends. Although still widely used in fluid power systems, it is not recommended by the National Fluid Power Association (NFPA) for hydraulic applications.
The NPTF male will mate with the NPTF, NPSF or NPSM female.
The NPTF male has tapered threads and a 30° inverted seat.
The NPTF female has tapered threads and no seat. Sealing occurs through thread deformation.
The NPSM female has straight threads and a 30° inverted seat. The seal takes place on the 30° seat.
The NPTF connector is similar to, but not interchangeable with, BSPT connector. The thread pitch is different in most sizes. Also, the thread angle is 60°, compared to the 55° angle of BSPT threads.
Go to the form
|
 |
Push On METRIC STANDPIPE
A metric standpipe is comprised of three components attached to a male fitting. The components are: a Standpipe, Bite Sleeve and Metric Nut. The nut is placed over the Standpipe, followed by the Bite Sleeve. For DIN light assemblies, a DIN light metric nut is used. For DIN heavy assemblies, a DIN heavy metric nut is used. The Bite Sleeve and Standpipe are selected on the basis of tube O.D.
Go to the form
|
 |
Micro Bore British Standard Pipe Parallel (BSPP)
Popular couplings British Standard Pipe (BSP) threads, also known as Whitworth threads.
The BSPP (parallel) male will mate with a BSPP (parallel) female or a female port. The BSPP male has straight threads and a 30
Go to the form
|
 |
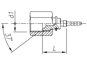
Micro Bore SAE J514 370 (JIC)
The Society of Automotive Engineers (SAE) specifies a 37? angle flare or seat be used with high pressure hydraulic tubing. These are commonly called JIC couplings. The JIC 37? flare male will mate with a JIC female only. The JIC male has straight threads and a 37? flare seat. The JIC female has straight threads and a 37? flare seat. The seal is made on the 37? flare seat by establishing a line contact between the male flare and the female cone seat. The threads hold the connection mechanically.
Go to the form
|
 |
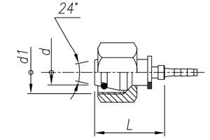
Micro Bore DIN 2353 / 3865 24°
The DIN 24° cone male will mate with any of the three females listed: Female 24° cone with O-Ring, Female metric tube, Female Universal or 60° cone.The male has a 24° seat, straight metric threads, and a recessed counterbore with matches the tube O.D. used with it.The mating female may be a 24° cone with O-ring (DKO type), a metric tube fitting or a universal 24° or 60° cone.There is a light and heavy series DIN coupling. Proper identification is made by measu ring both the thread size and the tube O.D. (the heavy series has a smaller tube O.D. than the light, but has a thicker wall section).
Go to the form
|
 |
Micro Bore METRIC STANDPIPE
A metric standpipe is comprised of three components attached to a male f tting. The components are: a Standpipe, Bite Sleeve and Metric Nut. The nut is placed over the Standpipe, followed by the Bite Sleeve. For DIN light assemblies, a DIN light metric nut is used. For DIN heavy assemblies, a DIN heavy metric nut is used. The Bite Sleeve and Standpipe are selected on the basis of tube O.D.
Go to the form
|
 |
Micro Bore OTHER INSERTS
Different fittings for thermoplastic flexible hoses, standpipes, 90° elbow pipe or nut connection
Go to the form
|
 |
UHP British Standard Pipe Parallel (BSPP)
|
 |
UHP DIN 2353 / 3865 24°
|
 |
UHP METRIC 24° - 60
|
.png) |
UHP SAE J514 370 (JIC)
|
.png) |
UHP National Pipe Tapered Fuel (NPTF)
HI - Male NPT | HH - Female NPT | OI - Male NPT one piece
Go to the form
|
 |
TYPE-M
|
 |
HP / MP
HL - Male MP | HM - Male HP | HN - Male HP METRIC | HG - Female HP
Go to the form
|
 |
GAS
|
 |
METRIC
|
 |
GAS100 External Cone
|
 |
USIT
|
 |
FLAT SEAL
|